TBB-2 Four-Component Net Radiometer / Net Total Radiation Sensor
1. Product Overview
TBB-2 Four-Component Net Radiometer (also called Four-Component Net Total Radiation Sensor) measures the difference between all-wave downward radiation from the sky (including solar and atmospheric radiation) and all-wave upward radiation from the ground (including soil, vegetation, and water surfaces). It is a high-performance four-component net radiometer widely recognized in the market.
The TBB-2 uses two upward-facing and two downward-facing radiometers, allowing simultaneous measurement of:
Shortwave downward radiation
Longwave downward radiation
Shortwave reflected radiation
Longwave reflected radiation
Shortwave albedo
Longwave albedo
Net total radiation
Thanks to its high accuracy, modular design, zero-power operation mode, and excellent cost-performance ratio, it is widely used in scientific research and surface radiation budget studies. It is an ideal instrument for energy balance research in meteorology, photovoltaics, horticulture, agriculture, and industry.
2. Working Principle
The TBB-2 consists of two shortwave radiometers and two longwave radiometers:
Shortwave Radiometers (2 units)
Each shortwave radiometer is composed of:
Quartz glass window
Sensing element
Housing
Longwave Radiometers (2 units)
Each longwave radiometer consists of:
Silicon dome filter
Sensing element
Thermopile
Housing
The sensing element is a multi-junction thermopile with a high-absorption black coating. The black coating absorbs radiation, causing a temperature difference between the two ends of the thermopile, which generates a voltage proportional to the received radiation intensity.
Each longwave radiometer contains a built-in resistor placed near the thermopile junction to provide temperature compensation.
Each radiometer has its own sensitivity parameters and output wiring, allowing independent data output or combined calculation to derive:
Shortwave radiation
Reflected shortwave radiation
Longwave radiation
Reflected longwave radiation
Net total radiation
Net total radiation is defined as:
Positive → surface gains heat
Negative → surface loses heat
3. Technical Specifications
| Parameter | Specification |
|---|---|
| Measured Components | Shortwave downward, Shortwave reflected, Longwave downward, Longwave reflected, Net total radiation |
| Solar spectral range (shortwave) | 0.3 – 3 µm |
| Terrestrial spectral range (longwave) | 3.5 – 50 µm |
| Sensitivity (Shortwave) | 7–14 µV/W·m² |
| Sensitivity (Longwave) | 2–10 µV/W·m² |
| Output signal | 0–20 mV (radiometer) |
| Temperature compensation resistance | 85–138.5 Ω |
| Annual stability | ≤ ±2% |
| Non-linearity | ≤ 4% |
| Measurement accuracy | ≤ ±5% |
| Measurement range | -2000 to +2000 W/m² |
| Temperature compensation sensor | Pt100 |
| Operating humidity | 0–100% RH |
| Operating temperature | -40°C to +80°C |
| Response time | ≤ 30 s |
| Leveling method | Two-axis bubble level |
| Weight | 3 kg |
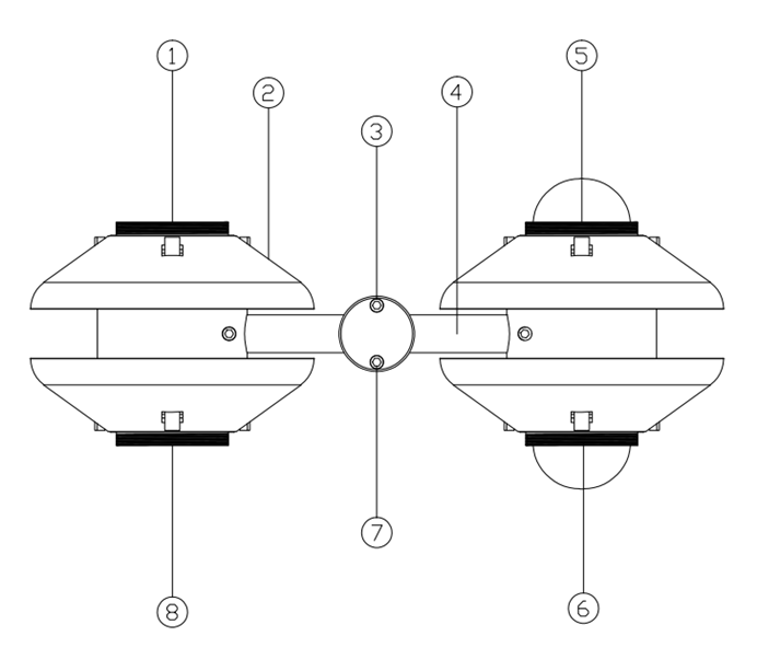
4. Structural Composition
The TBB-2 consists of:
Upward-facing longwave radiometer (Morning)
Sun shield plate
Adjustment components for X-axis and Y-axis leveling
Central mounting structure
Upward-facing shortwave radiometer (Morning)
Downward-facing shortwave radiometer
Central connection rod
Downward-facing longwave radiometer
This symmetrical design ensures accurate radiation measurement in all directions.
5. Product Advantages
Built-in temperature compensation, ensuring high measurement accuracy
Excellent cost-performance ratio and stable performance
Lightweight and integrated design, reducing installation costs
Modular structure, easy maintenance and replacement
Simultaneous multi-parameter measurement
Zero-power operation mode, enabling continuous measurement without external power
Compliant with WMO (CIMO Guide) standards
Electrostatic spray-coated housing, corrosion-resistant and suitable for harsh environments
6. Applications
TBB-2 is widely used in:
Meteorology
Agriculture and forestry
Building science
Road safety research
Heat stress and thermal balance studies
Highway thermal condition monitoring
It is an essential instrument for surface radiation balance and energy budget research.
7. Application Cases
8. About Company
Need more information? Feel free to leave a message or contact us.
Sales Manager: Xie Meng
Email: xiemenghit@gmail.com
Whats app: +1(416)8260959
Website: www.sunweather.ca
TikTok:
QQ: 619243274
WeChat: 619243274
Send Inquiry to This Supplier
You May Also Like
-
TBS-YG5 Automatic Solar Radiation Tracking SystemNegotiableMOQ: 1 Unit
-
TBQ-2WX Solar Radiation CalibratorNegotiableMOQ: 1 Set
-
TBS-3 Automatic Direct Solar Radiation TrackerNegotiableMOQ: 1 Set
-
PC-2-T Solar Radiation Standard Observation StationNegotiableMOQ: 1 Set
-
TBD-1 Diffuse Radiation SensorNegotiableMOQ: 1 Unit
-
TBS-2-2 Direct Radiation SensorNegotiableMOQ: 1 Unit
-
TBL-1 Longwave Radiation SensorNegotiableMOQ: 1 Unit
-
TBB-1 Net Radiation SensorNegotiableMOQ: 1 Unit
-
EC-8SX Integrated Wind Speed & Direction SensorNegotiableMOQ: 1 Set
-
EC-9XA Wind Direction Sensor, Wind Vane SensorNegotiableMOQ: 1 Unit














