SVG Dynamic Compensation, High Power Factor
ADSVG series products adopt advanced instantaneous reactive power theory and power decoupling algorithm as the theory foundation, and adopt many technologies such as modern power electronics, automation, microelectronics and network communication. It can set reactive power nature and size, power factor and grid voltage as the control target.Through tracking power quality dynamically,reactive
power output areadjusted. It can run atsetting curve.
ADSVG series product with easy operation, high performance, high reliability is designed to meet users’ demands of improving power factor of power transmission, compensating harmonic and the negative sequence current. Its features are as follows
Features of ADSVG series
l Modular design, easy to install, debug and set
l Fast dynamic response, response time ≤5ms
l Under the sufficient compensation capacity, output current harmonics(THD)≤3%
l A variety of operating modes, such as constant device reactive power,constant assessment point of reactive power modes, constant assessment point of power factor modes, constant assessment point of voltage modes,constant assessment point of reactive power mode 2 (designed for users).The target value can be set real-time.
l Tracking load changes actually, compensating reactive power dynamically and smoothly, improving power factor, actually compensating harmonics,compensate the negative sequence of current, improving power quality.
l Suppressing voltage flicker, improving voltage quality, stabling the system voltage
l Elaborate design of circuit parameters, small heat value, high efficiency,low operating cost
l Compact structure, small floor area
l Main circuit is composed of power cell, and the power cell is composed of H-bridge IGBT.Each phase is composed of multiple identical power cell,which is in series each other. The output PWM waveform is formed by step wave which is approximate to sine.
l Redundant design to meet the needs of high reliability system
l Modular design of power circuit, easy maintenance and good Interchangeability
l Lots of protections, such as over-voltage, under-voltage, over-current,over-heating of power celland voltage sharing. It can record fault
waveform instantly so it is easy to determine the fault point and maintain,and high reliability
l Friendly human-computer interface, RS485 communication interface,Modbus communication standard protocol, real-time digital and analog display, operation record, historical curve records query, power cell state monitoring, system information query, historical fault query, system self-chenking after power on, one key to start and stop, time-sharing control, oscilloscope (AD channel mandatory record), instant voltage/current fault recording
l Providing FC interface, it can combine with FC effectively which is more economical and flexible for the users.
l No transient impact, no inrush phenomenon, no arc reignition , switch directly without discharge
l Easy connection, without regard to the phase sequence when connecting to the system
l It can be installed in parallel, and easy to expand capacity. Communication speed is very fastby using the fiber optic,which can well meet the requirement of real-time compensation.
ADSVG reactive power
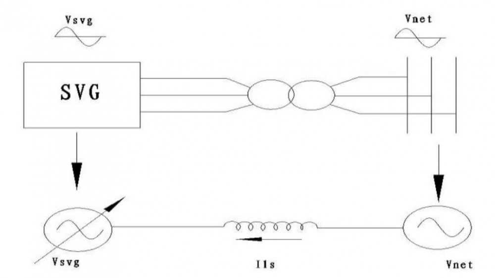
Series of ADSVGproducts principle schematic is shown in Figure 3.1. There are three cases between voltage and current in the AC circuit. When the load presents purely resistive, voltage and current is in the same phase; when the load presents inductance, voltage phase advances current phase; when the load presents capacitance characteristics, voltage phase lags current phase.
Figure 3.1 Schematic
Basic principle of series of ADSVG products is the self-commutated bridge circuit via a transformer or reactor connected to the power line. By appropriately adjusting the AC side of the bridge circuit output voltage amplitude and phase, or directly controlling the AC side current to absorb or issue meeting requirements reactive current, thereby, dynamic reactive power compensation is achieved. The principle schematic is shown in Table 3.1.
Table 3.1 Principle of operation mode
Main technical parameters of ADSVG
Rated work voltage, 6kV,10kV,27.5kV,35kV;
Rated capacity, ±1~±100Mvar;
Output reactive power range, which continuously change from rated inductive reactive power to rated capacitive reactive power.
Response time≤5ms;
Overload capacity, 1.2 times load can run 1 min.
Output voltage total harmonic distortion THD≤5%;
Output current total harmonic distortion THD≤3%;
Protection of system voltage unbalance range from 4%-10%
Efficiency, rated operating conditions≥99.2%
Operating temperature, -10℃~+40℃;
Storage temperature, -30℃~+70℃;
Human-computer interface, color displaying
Relative humidity, month average value no more than 90% , no frost
Altitude,
Seismic intensity, ≤8 degree
Send Inquiry to This Supplier
You May Also Like
-
10KV High Voltage SVG Dynamic Compensation CabinetNegotiableMOQ: 1 Combo
-
The Power Factor of SVG Dynamic Reactive Compensation Device Used in Seamless Steel Pipe Production Line Reaches 98%NegotiableMOQ: 1 Combo
-
We Warmly Congratulate the Successful Application of Aodong Electric SVG Dynamic Compensation Cabinet in the Smelting and Processing IndustryNegotiableMOQ: 1 Combo
-
Capacity Configuration Method of High Voltage SVG Dynamic Reactive Compensation Cabinet in Metallurgical IndustryNegotiableMOQ: 1 Combo
-
The Power Factor of SVG Dynamic Reactive Compensation Device Used in Seamless Steel Pipe Production Line Reaches 98%NegotiableMOQ: 1 Combo
-
Technical Parameters and Sizing of SVGNegotiableMOQ: 1 Combo
-
SVG is Applied in the Rolling Mill of a Stainless Steel CompanyNegotiableMOQ: 1 Combo
-
The Power Factor of a Certain Power Supply Station Increased to More Than 0.98 After Using SVGNegotiableMOQ: 1 Combo
-
Aodong ADSVG Solves the Problem of Power Grid Voltage Drop and Improves the Power Factor to 0.98 or AboveNegotiableMOQ: 1 Combo
-
Aodong ADSVG Compensates the Reactive Power of the System to Improve the Stability of Line TransmissionNegotiableMOQ: 1 Combo




