Home > Products > WiFi ap wall router > WPS 300Mbps Wireless ap Router Wifi ap Wireless Modem Router 3g 2.4G 300Mbps In Wall Wireless Access Point
WPS 300Mbps Wireless ap Router Wifi ap Wireless Modem Router 3g 2.4G 300Mbps In Wall Wireless Access Point
- SZ OR HK
- T/T PayPal
- 7 days
You May Like
-
Mini Wireless Ap Router With English Software, MT7620A Chipset, DDR128M, OpenWRT 300Mbps
-
2016 New Arrival Hot Sale Wireless 802.11n Wps 300Mbps WiFi Repeater Ap Router Range Expander Wholesale WiFi Repeater Router
-
Superior Quality Wifi MT7620A Poe Access Point ap 300Mbps 2.4GHz Hotel Enterprise Mount In Wall Wireless Access Wifi AP Router
-
Cable USB 3.1 Type-C Micro Usb Adapter, Charging Cord, Braided Usb Cable
-
Micro HDMI to HDMI D-type HD Cable With 14+1 Pure Copper Core Line for PC/tablet/camera
-
FT232R USB RS485 Converter,Panel Mount FTDI USB-RS485-WE-5000-BT-Cable, USB to RS485 Cable Converter
Product Details
| Brand Name | CARATAR | Place of Origin | China | |
| Model Number | A10 |
Product Description
WPS 300Mbps wireless ap router wifi ap wireless modem router 3g 2.4G 300Mbps In Wall Wireless Access Point
Embedded MIPS 24KEc 580MHz with 32KB I cache/16KB D cache.
2T2R 2.4GHz with 300 Mbps PHY data rate.
Legacy 802.11b/g and HT 802.11n modes.
20/40 MHz channel bandwidth.
Hardware NAT with IPv6 and 2 Gbps wired speed.
WEP64/128,TKIP,AES,WPA,WPA2,WAPI.
USB 2.0 host/device dual mode, Support 3G module.
| Wireless Access Point | Transmission standard | 802.11b/g /n |
| Frequency | 2.4GHz | |
| Mode | 2T2R | |
| Data rate | Up to 300Mbps PHY | |
| Multiple BSSID | Up to 16 channel | |
| Wi-Fi security | WEP64/128,TKIP,AES,WPA,WPA2,WAPI | |
| WPS | Support(PBC,Pin) | |
| WDS bridge | Support | |
| Qos | WMM,WMM-PS | |
| Voice enterprise | 802.11k+r | |
| Network protocol | TCP/IP,UDP,HTTP,ARP,DHCP,ICMP,NAT,DNS,PPPoE,FTP | |
| Wired Ethernet | RJ45 Interface | WAN/LAN : 10/100 Mbps Ethernet switch |
| USB Battery charging | Charge port | Up to 4 x USB charge |
| Charge current | Up to 3A total | |
| Charge volt | 5V | |
| Charge speed | Fast charging | |
| Support device | Universal charging to various devices : Support iPhone/iPad, Android phone, other smart mobile phone,and the other portable devices | |
| Telephone line port | RJ11 interface | Connect telephone line to RJ11 port |
| 3G | 3G interface | Support 3G modul by usb2.0 interface |
| Storage | SD card | Support SD/TF card storage up to 64GByte |
| USB storage | Support USB mass storage | |
| General | Power | AC 220V/110V/380V |
| Power consumption | 0~15W | |
| Operating temperature | -20 to+60 °C | |
| Storage temperature | -40 to+60 °C | |
| Operating humidity | 20- 80%RH | |
| Storage humidity | 20- 95%RH | |
| Dimension | 86mm x 86mm x 42mm(L x W x H) |
Wall type WIFI router with the country's first telephone interface
The 11N 150M Wireless AP, transfer faster and more stable
Exempt hotel walls trouble playing online module
Wired and wireless integration
The most complete wireless encryption technology, with WEP, WPA-PSK, WPA2-PSK, WPA, WPA2, MAC address authentication, and other encryption / security settings to make wireless networks more secure
Support relay function, let your WIFI broader range of distances.
Applicable to corporate boardrooms, cafes, restaurants and the hotel lobby and lounge area, shopping and leisure area,you can increase at any time as needed.
Ap into the wall is for the hotel room , dormitory, hospital wards and other rooms intensive environments wireless coverage needs and design a wireless panel AP, using the national standard 86mm panel design , support standard PoE power supply DC-DC power supply too , can not destroy the original interior decoration case , install network wiring directly to the 86 type cartridge , and supports unified configuration by the wireless controller , management, rapid formation of high-quality, easy to manage wireless networks.
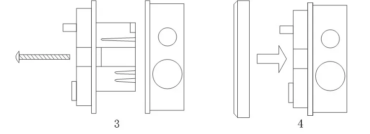
Remove the cover(Use a screwdriver to remove the cover from the panel surface)
Connecting wire(The 220V wires, cables, telephone lines connected to the specified interface on the rear panel to ensure a firm connection,Connect the power off before connecting wires to connect 220V,Avoid electric shock).
Mounting screws(Remove the screws from the box, put the socket into the bottom box fixed rear panel, the panel surface cover to cover, the surface.In the bottom box to adjust the screws tighten the screw ratio.)
Install the cover(Cover snaps into the slot above the panel).
Shenzhen Caratar Technology Co., Ltd, Is a leading providers of SOHO & SMB networking products, offering both innovative and award winning solutions to the market.
R&D Manufacture that is fully committed to developing its products, services and consumer relations through extensive R&D, strict Quality Assurance practices, and effective outreach initiatives. Customer loyalty through interaction, focus and feedback are policies that help form the Caratar culture, as well as a commitment to achieve, and a dedication to innovate.
Technologybefocused on RF Bluetooth Wi-Fi Zigbee Z-wave Enocean etc. Many years of experience on wireless network product and Embedded Industrial product . offering a complete range of networking solutions consisting of Routers, Adapters, Cameras, Switches, and many other WLAN Wired and Wireless devices for both Home and Office use.
The Main product :
Wireless department : In-wall AP Router WI-FI module Mini pocket wifi router
Industrial department : Air purifier USRP Warm clothing

Contact Us
- Shenzhen Caratar Technology Co., Ltd
- Contact nameApple Chat Now
- Phone86-755-33137513
- Address, Shenzhen, Guangdong, China
Product Categories
| USB to RS485 Cable | USB to RS232 cable | USB to TTL cable | USB cable |
| wifi module | WiFi ap wall router | PD TYPE C HDMI cable |
New Products
-
USB-RS422-PCBA FTDI USB to RS485 Embedded Converter PCB Assy
-
USB-RS485-PCB FTDI USB to RS485 Module
-
FTDI USB-RS485-WE-1800-BT CABLE, USB TO RS485 SERIAL, 1.8M, 6ft Usb-rs485-1800-bt Ft232 Usb Rs485 6 Core Wire End Cable FT232R
-
USB to 485 Converter RS485rs422 to USB Serial Port Module Usb to Rs485 Serial Db9 Cable Driver
-
Ftdi Usb Rs485 to m8 M12 Serial USB-RS485-M12 Conversion RS485 M12 Usb to Rs485 Rs422 Usb Converter Cable
-
FTDI Chip Usb to RS485 Cable With TX/RX LEDs, Wire End, 1.8M
-
Ftdi Usb Rs485 to m8 M12 Serial Conversion Cable RS485 M12 TO USB CABLE
-
USB-RS485 Converter Cable Provides a USB to RS485
-
High Quality Ftdi Usb Rs232 Cable Usb Rs485 to Rj11 Cable,RJ45,8P8C,10P10C
-
Ftdi Usb Rs485 Wire End Serial Communication Cable PVC Jacket USB2.0 to RS485 RS422 RS232 Cable
-
Usb to Serial Rs-422/485 Cable Converter Usb to Rs485 Rs422 Communication Converter
-
FTDI USB-RS485-WE-1800-BT USB A Plug to Cut End; Built-in USB to RS485 Serial UART Converter
-
USB RS232 to Mini 4p Adapter Cable FTDI Programming Cable and Remote Control for Uniden Scanner USB-1 Replacement
-
6Ft (6 Feet) USB to Serial RS-232 DB-25 Male Straight-Thru Cable FTDI Chipset (5-Wires)
-
FTDI Chipset Usb Rs232 to Mini USB 4P Adapter Cable for Uniden Scanner Radio, PC Interface Cable
-
FTDI Chipset Usb Rs223 DIN6pin 8P 12Pin Adapter Male Cable
-
Female Gender and Audio & Video Application FTDI FT232RL+ZT213 Usb Rs232 To Rj11/rj12 6p6c Cable
-
1.8m FTDI USB to Serial RS232 FT232RL Chip DB9 DB25 Male or Female Adapter Converter Cable
-
FT232RL FTDI to USB Serial Adapter Module USB to 232 for Download Cable
-
Basic Breakout Board For FTDI FT232RL USB To TTL Serial IC Adapter (6 Way OEM FTDI TTL-232R-5V Cable)ftdi Ttl Cable
-
TTL-232R-3V3-WE USB to TTL Serial Cable High Speed USB to TTL Converter Cable USB 2.0 Data Cable With FTDI Chip
-
USB Interface Type and Other Type FTDI USB to TTL 3.3V 3.5mm Audio Jack Serial Cable
-
TTL-232R-3V3-WE FTDI Chip USB to TTL UART Serial Cable With Wire-ended 6 Core Output TTL-232R-5V-WE Compatible
-
USB-RS485-WE-1800-BT USB TO RS485 CABLE, 1.8M BLACK CABLE, WIRE END
Popular Searches
Recommended Products
- Industrial-grade 4G Plug-in Card Router, Fully Compatible With All Networks, WIFI Internet Access, Remote Video Surveillance, and Network CPE MR500U
- Industrial-grade 4G Router Module, Security 38-board 2G3G4G to WIFI Network Port Video Surveillance MR200MINI
- QUECTEL SC60EYE-32GB-UGAD
- Wi-Fi and Bluetooth Gateway Beacon Positioning Base Station IBeacon Signal Reception Data Collector
- DR9074-Triband QCN9024 4x4 MU-MIMO Wifi6E 11ax 2.4G&5G&6G
- WiFi6 Routerboard IPQ5018 SOC 2.4G&5G&6G on Board Openwifi
- Ultra-small Size, Cost-Effective Bluetooth Module TS-M1021
- Cost-Effective, Low Power Consumption Bluetooth Module TS-M1029D
- Cost-Effective, Ultra-small Size Bluetooth Low Power Dual Mode Bluetooth Module TS-M1020D
- Cost-Effective High Quality Dual-mode Bluetooth Module TS-M1031D
- Cost-Effective High Quality BLE Bluetooth Module TS-M1032D
- Cost-Effective, High Quality High Speed Master-slave Supported BLE Bluetooth Module TS-M1033
Find Similar Products By Category
- Electrical & Electronics > Telecommunication & Broadcasting > WiFi Products
- Please Enter your Email Address
- Please enter the content for your inquiry.
We will find the most reliable suppliers for you according to your description.
Send Now-
Apple
Hi there! Welcome to my shop. Let me know if you have any questions.
Your message has exceeded the limit.
- Contact supplier for lowest price
- Customized Request
- Request Sample
- Request Free Catalogs
Your message has exceeded the limit.
-
Purchase Quantity
-
*Sourcing Details
Your inquiry content must be between 10 to 5000 characters.
-
*Email
Please enter Your valid email address.
-
Mobile




Mini Wireless Ap Router With English Software, MT7620A Chipset, DDR128M, OpenWRT 300Mbps
Superior Quality Wifi MT7620A Poe Access Point ap 300Mbps 2.4GHz Hotel Enterprise Mount In Wall Wireless Access Wifi AP Router
Cable USB 3.1 Type-C Micro Usb Adapter, Charging Cord, Braided Usb Cable
Micro HDMI to HDMI D-type HD Cable With 14+1 Pure Copper Core Line for PC/tablet/camera
FT232R USB RS485 Converter,Panel Mount FTDI USB-RS485-WE-5000-BT-Cable, USB to RS485 Cable Converter








USB-RS422-PCBA FTDI USB to RS485 Embedded Converter PCB Assy
FTDI USB-RS485-WE-1800-BT CABLE, USB TO RS485 SERIAL, 1.8M, 6ft Usb-rs485-1800-bt Ft232 Usb Rs485 6 Core Wire End Cable FT232R
USB to 485 Converter RS485rs422 to USB Serial Port Module Usb to Rs485 Serial Db9 Cable Driver
Ftdi Usb Rs485 to m8 M12 Serial USB-RS485-M12 Conversion RS485 M12 Usb to Rs485 Rs422 Usb Converter Cable
FTDI Chip Usb to RS485 Cable With TX/RX LEDs, Wire End, 1.8M
Ftdi Usb Rs485 to m8 M12 Serial Conversion Cable RS485 M12 TO USB CABLE
USB-RS485 Converter Cable Provides a USB to RS485
High Quality Ftdi Usb Rs232 Cable Usb Rs485 to Rj11 Cable,RJ45,8P8C,10P10C
Ftdi Usb Rs485 Wire End Serial Communication Cable PVC Jacket USB2.0 to RS485 RS422 RS232 Cable
FTDI USB-RS485-WE-1800-BT USB A Plug to Cut End; Built-in USB to RS485 Serial UART Converter
USB RS232 to Mini 4p Adapter Cable FTDI Programming Cable and Remote Control for Uniden Scanner USB-1 Replacement
6Ft (6 Feet) USB to Serial RS-232 DB-25 Male Straight-Thru Cable FTDI Chipset (5-Wires)
FTDI Chipset Usb Rs232 to Mini USB 4P Adapter Cable for Uniden Scanner Radio, PC Interface Cable
FTDI Chipset Usb Rs223 DIN6pin 8P 12Pin Adapter Male Cable
Female Gender and Audio & Video Application FTDI FT232RL+ZT213 Usb Rs232 To Rj11/rj12 6p6c Cable
FT232RL FTDI to USB Serial Adapter Module USB to 232 for Download Cable
Basic Breakout Board For FTDI FT232RL USB To TTL Serial IC Adapter (6 Way OEM FTDI TTL-232R-5V Cable)ftdi Ttl Cable
USB Interface Type and Other Type FTDI USB to TTL 3.3V 3.5mm Audio Jack Serial Cable
USB-RS485-WE-1800-BT USB TO RS485 CABLE, 1.8M BLACK CABLE, WIRE END