Nozzle Bowl Type Starch Separator for Starch Applications
The DPF series is a starch separator designed for continuous discharge of solids. It is used for classifying, concentrating and washing solids, and for clarifying liquids that contain relatively high solids concentrations. This series starch separators are widely used in the maize starch industry, including primary starch separation, gluten thickening, millstream thickening and middling concentration.
When processing different kinds of tubers as the raw materials for extracting starch, the use of starch separator as a preconcentrator or refining separator is crucial for the best results. These are available in a wide range of different sizes and configurations for tackling specific separation tasks. The starch separator bowl is available in PS, GT, MST, CL structure, with different disc spacing.
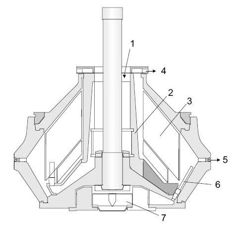
The feed consisting of both liquid and solids is introduced into the rotating centrifuge bowl of the starch separator from the top via a stationary inlet (1) and is accelerated in a distributor (2) before entering the disc stack (3). Separation takes place between the discs. The liquid phase moves through the disc stack towards the centre of the bowl and is discharged to the overflow by gravity, via power a ring (4). The heavy solids are collected at the bowl periphery and continuously discharged to the underflow by gravity, through the nozzles (5). Part of the concentrated solids discharged through the nozzles is recirculated into the bowl periphery through the recirculation tubes (6) via the recirculation chamber (7). Wash water used in some applications for displacement of soluble and other impurities from the solids can be introduced to the bowl periphery the same way.
Throughput capacity | 45 – 220 m3/h |
Max.bowl speed | 2900 – 5400 rpm |
Motor power | 30 – 250 Kw |
Nozzle number | 8 – 30 |
Noise | 88 dB |
Weight | 2000 – 10000 Kg |
- Low energy consumption due to continuous discharge of the solids concentrate through special nozzles
- Clarifier bowl with closed feed and discharge of the product phase to avoid oxygen absorption
- The solids concentrate is discharged continuously from the bowl through special nozzles
- CIP cleaning at operating speed
- Vibration monitoring
- Speed monitoring
Technical service:
-technical direction when installation, commissioning of the starch separator
-training for operation and maintain worker
Training:
-separator working principle and structure of the starch separator
-operation regulation and attention
-machine maintains
Huading Separator has been developing and manufacturing centrifugal starch separator for nearly 50 years, and is one of the Chinese leading manufacturers. Huading Separator has more experience and expertise than any other separator manufacturer when it comes to applying and using starch separator for the purpose of starch applications.
Send Inquiry to This Supplier
You May Also Like
-
3 Phase Coconut Oil CentrifugeUS$ 5000 - 89500MOQ: 1 Set
-
Coconut Oil Disc CentrifugeUS$ 5000 - 89500MOQ: 1 Set
-
Automatic Virgin Coconut Oil Centrifuge Vertical Type 3-phase Separation Disc Rotate Oil Separator for Coconut/purifierUS$ 5000 - 89500MOQ: 1 Set
-
Disc Stack Industrial Virgin Coconut Oil CentrifugeUS$ 5000 - 89500MOQ: 1 Set
-
Olive Oil and Virgin Coconut Oil CentrifugeUS$ 5000 - 89500MOQ: 1 Set
-
Nozzle Type DPF Starch Centrifuge Separator for Corn Starch, Corn Starch Disc Separator MachineUS$ 18500 - 89500MOQ: 1 Set
-
Corn Starch Separator for Starch and GlutenUS$ 18500 - 89500MOQ: 1 Set
-
Wheat Corn Cassava Starch SeparatorUS$ 18500 - 89500MOQ: 1 Set
-
Professional Design Hot Sale Cassava Starch Disc Centrifugal SeparatorUS$ 18500 - 89500MOQ: 1 Set
-
Nozzle Type DPF Starch Separator for Corn StarchUS$ 18500 - 89500MOQ: 1 Set

