Advanced Small Nut Candy Coating Pan
Spray small nut candy coating pan
spray small nut candy coating pan is widely used in pharmaceutical and foodstuff.
1.Pharmaceutical: Coating tablet and pill.
2.Foodstuff: Sugar coating beans, edible nuts, seeds or candy. Such as marble chocolate, peanut, fried flour-coated peanut, dumplings, crispy fruit and spicy bean and so on.
Portable thermal Spray small nut coating machine pan has advantages of simple structure, easy operation, and smooth surface. It can save accessories and it is also easy to maintain. This machine is the ideal machine for tablet film sugar coating.The machine is processing peanuts surface, wrapped clothing professional equipment. After processiing of the surface device peanut sleek, smooth movement, low noise, no pollution. Can produce skin peanuts, chocolate peanuts, multi-flaored peanuts, beans, mouthful of fragrant etc.
Main Technical Parameter of spray small nut candy coating pan
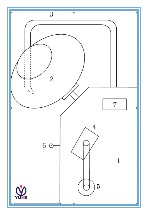
1. Body 2.Pot 3. Hot wind pipe 4. Decelerate the machine
5.Motor 6.Hand round 7.Electrical
The main part of spray small nut candy coating pan inclination of the rotating cy linders materials and hanging coated mateirals in rotating cylinders driven by the circumferential movement parabolic portfolio, to make it sticky follow uniform surface smoot, no adhesion .
Spray small nut candy coating pan satisfies the prosessing demand of sugar coating by providing an stable line speed and optimum heating mode.The main motor transmits the power by delta rubber belt to the oven and the speed is reduced to a reasonable level with worm-gear . The oven turns evenly and can self-lock.
Packing details: wooden case
delivery details: 30days after getting deposit
The surface of the coated and polished tablet is bright,the coating prevents it form oxidizing,being wet or volatilize,hide the uncomfortable flavour ,make it identifiavte and alleviate dissolution in human bodies.
* Inquiry and consulting support.
After-Sales Service
* Training how to install the machine, training how to use the machine.
*Readily available spare parts.
*Our engineers can provide service overseas.
Send Inquiry to This Supplier
You May Also Like
-
Adhesive Coating MachineUS$ 1 - 40MOQ: 1 Piece
-
Centrifugal Granulator & Coater Used in ChemicalUS$ 230,000 - 890,000MOQ: 1 Set
-
PLC Controlled Ultrasonic Riband Cutting MachineNegotiableMOQ: 1 Set
-
pe Laminating MachineNegotiableMOQ: 1 Set
-
Sugar Coating Machine/coating MachineNegotiableMOQ: 1 Set
-
High Quality Industrial Powder Coating Curing OvenUS$ 2400 - 2500MOQ: 1 Set
-
UV & AQ Coating Machine for Corrugated CardboardNegotiableMOQ: 1 Set
-
Dip Coating Machine Coating Machine Powder CoatingUS$ 1400 - 1639MOQ: 1 Piece
-
Factory Direct EV-1600 Vacuum Metallizing Coating Machine for PlasticsUS$ 420000 - 450000MOQ: 1 Unit
-
TMEP-LED18230T Plate Making Equipment Prepress Proofing MachineUS$ 6900 - 9000MOQ: 1 Set

















